Герметики для межпанельных швов "САЗИЛАСТ"
Обращаем ваше внимание!
С 1 сентября 2023 года вступает в силу 4 абзац пункта 3 Постановления Правительства Российской Федерации от 23.12.2021 г. №2425 "Об утверждении единого перечня продукции, подлежащей обязательной сертификации, и единого перечня продукции, подлежащей декларированию соответствия, внесении изменений в постановление Правительства Российской Федерации от 31 декабря 2020 г. №2467 и признании утратившими силу некоторых актов Правительства Российской Федерации".
Читайте подробнее на этой странице.


Основные требования к фасадным герметикам

к воздействию УФ-излучения



к строительным материалам
Конструкция стыков элементов наружных стен
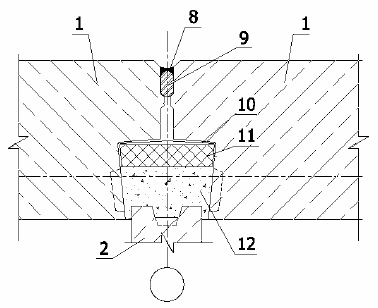
Вертикальный стык закрытого типа

- наружная стеновая панель;
- внутренняя стеновая панель;
- плита перекрытия;
- верхняя горизонтальная грань наружной панели;
- нижняя горизонтальная грань наружной панели;
- противодождевой зуб;
- противодождевой гребень;
- герметизирующая мастика типа «САЗИЛАСТ 24»;
- уплотняющая прокладка «ИЗОНЕЛ»;
- воздухозащитная оклеечная изоляция;
- теплоизоляционный вкладыш;
- бетон замоноличивания колодца стыка;
- цементно – песчаный раствор;
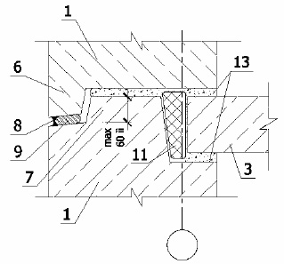
Горизонтальный стык закрытого типа

- наружная стеновая панель;
- внутренняя стеновая панель;
- плита перекрытия;
- верхняя горизонтальная грань наружной панели;
- нижняя горизонтальная грань наружной панели;
- противодождевой зуб;
- противодождевой гребень;
- герметизирующая мастика типа «САЗИЛАСТ 24»;
- уплотняющая прокладка «ИЗОНЕЛ»;
- воздухозащитная оклеечная изоляция;
- теплоизоляционный вкладыш;
- бетон замоноличивания колодца стыка;
- цементно – песчаный раствор;
Плоский горизонтальный стык закрытого типа

- наружная стеновая панель;
- внутренняя стеновая панель;
- плита перекрытия;
- верхняя горизонтальная грань наружной панели;
- нижняя горизонтальная грань наружной панели;
- противодождевой зуб;
- противодождевой гребень;
- герметизирующая мастика типа «САЗИЛАСТ 24»;
- уплотняющая прокладка «ИЗОНЕЛ»;
- воздухозащитная оклеечная изоляция;
- теплоизоляционный вкладыш;
- бетон замоноличивания колодца стыка;
- цементно – песчаный раствор;
Основным показателем при выборе герметика для конкретного объекта является прогнозируемый срок службы герметика в шве с данной деформативностью, показывающей способность материала долговременно выдерживать циклические изменения стыкового зазора при изменении температуры окружающего воздуха.
Следует помнить, что помимо температурных деформаций, здания и сооружения, особенно новостройки, могут испытывать еще и осадочные деформации. Поэтому, при новом строительстве желательно использовать материалы, обладающие запасом по деформативности в сравнении с расчетной температурной деформацией.
Решаем сложные задачи в строительстве и ремонте бенонных конструкций, которые стоят перед Вами.
Подберем для Вас материалы из нашего каталога, сэкономив Ваше время и средства.
Окажем профессионально исчерпывающую консультацию строителям, проектировщикам, снабженцам.